在线测厚仪作为一种非接触式厚度测量仪器,读数精准,测量便捷,特别在物体定位和厚度测量方面运用范围最为广泛。下面我们大成精密给大家介绍下在线测厚仪的测量原理及应用领域、主要特点如下。
第一:在线测厚仪的测量原理
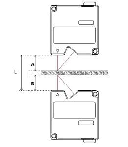
测厚模块由两个激光位移传感器上下对射的方式组成的,上下的两个传感器分别测量被测体上表面的位置和下表面的位置,通过计算得到被测体的厚度。
激光测厚仪的优点在于它采用的是非接触的测量,相对接触式测厚仪更精准,不会因为磨损而损失精度。
如下图:极片厚度C=L-A-B。
第二:在线测厚仪的应用领域
本产品主要应用于高温被测体的测量,如高温钢板的厚度、宽度、长度、高度、直径、轮廓和液位等测量
第三:在线测厚仪主要特点
高温检测:
可测500℃~2200℃高温物体,进行厚度、宽度、长度、高度、直径、轮廓的精密测量,是冶金行业必备的精密量仪;
抗干扰:
可直接检测发光液面,不受强光、散光干扰,有自动滤光功能;
高温测厚系统:
2个传感器成对安装,能自动主从识别,构成测量仪,进行在线厚度、宽度等实时测量。
关于在线测厚仪的测量原理就介绍到这里,相信大家看到这里也能够大概了解清楚在线测厚仪的原理,而对于在线测厚仪,我们可以了解下:激光在线测厚仪的测厚原理是什么